Cabo 50

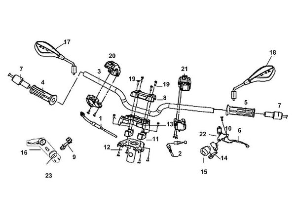
Cabo 50 – F 03 Cable, Switch, Handle Lever – 21 - L. Handle Sw. Unit
Lance Cabo 50 parts